热点关注
双重过滤雨水泵站截油截污结构
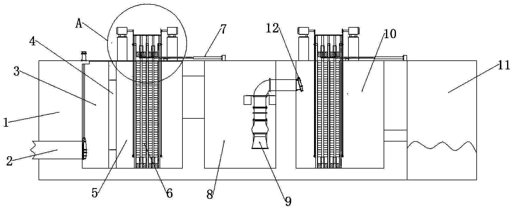
本发明公开了一种双重过滤的雨水泵站截油截污结构,涉及污水处理领域,针对现有的雨水泵站污水截油截污效率低,长期使用会导致排水效率降低的问题,现提出如下方案,其包括截污池和河道,所述截污池的内部依次设有格栅井、过滤井、泵站井以及出水井,所述格栅井、过滤井、泵站井、出水井以及河道相互连通,且所述格栅井的一侧设置有进水箱涵,所述格栅井与过滤井之间设置有格栅板,且所述泵站井的内部安装有水泵,所述过滤井与出水井内部均沿其宽度方向设置具有吸附功能的截污毛刷。本发明相较于传统的雨水泵站截油截污装置,能够通过设置双重过滤的截油截污结构提高其使用效率,并且方便对截油截污毛刷进行清理,同样能够提高其截油截污效率。

权利要求书
1.一种双重过滤的雨水泵站截油截污结构,包括截污池(1)和河道(11),其特征在于,所述截污池(1)的内部依次设有格栅井(3)、过滤井(5)、泵站井(8)以及出水井(10),所述格栅井(3)、过滤井(5)、泵站井(8)、出水井(10)以及河道(11)相互连通,且所述格栅井(3)的一侧设置有进水箱涵(2),所述格栅井(3)与过滤井(5)之间设置有格栅板(4),且所述泵站井(8)的内部安装有水泵(9),所述过滤井(5)与出水井(10)内部均沿其宽度方向设置具有吸附功能的截污毛刷(6),且所述过滤井(5)以及出水井(10)均设有毛刷清理设备,所述毛刷清理设备包括卷扬机(14)、钢丝绳(16)、接料支槽(18)、接料总槽(19)以及截污篮(20),所述截污池(1)位于过滤井(5)以及出水井(10)的顶端均固定安装有安装座(15),且所述安装座(15)的顶端固定安装有卷扬机(14),卷扬机(14)的输出轴安装有钢丝绳(16),所述截污毛刷(6)上套设有截污篮(20),且所述截污篮(20)的两侧设置有呈对称分布的轴承(23),其中一个所述轴承(23)上安装有滚轮(24),且所述钢丝绳(16)与滚轮(24)的滚轮槽匹配。
2.根据权利要求1所述的一种双重过滤的雨水泵站截油截污结构,其特征在于,所述进水箱涵(2)位于格栅井(3)的一端设置有闸门(13),且所述格栅井(3)的上方设有与闸门匹配的调节装置。
3.根据权利要求1所述的一种双重过滤的雨水泵站截油截污结构,其特征在于,所述水泵(9)的出水端延伸至出水井(10)的内部铰接有拍门(12)。
4.根据权利要求1所述的一种双重过滤的雨水泵站截油截污结构,其特征在于,所述过滤井(5)与出水井(10)的内部均设有导轨(17),所述轴承(23)上设有导槽,且所述导槽与导轨(17)匹配。
5.根据权利要求1所述的一种双重过滤的雨水泵站截油截污结构,其特征在于,所述截污篮(20)的底端铰接有卸料口(22),且所述截污篮(20)的底端固定安装有配重钢板(21)。
6.根据权利要求1所述的一种双重过滤的雨水泵站截油截污结构,其特征在于,所述截污池(1)位于过滤井(5)以及出水井(10)的上方均安装有伸缩气缸(7),且所述伸缩气缸(7)的活塞杆端部安装有接料支槽(18),所述截污池(1)位于过滤井(5)以及出水井(10)的上方均设有接料总槽(19),且接料总槽(19)位于接料支槽(18)的下方。
7.根据权利要求1所述的一种双重过滤的雨水泵站截油截污结构,其特征在于,所述格栅板(4)呈中空设置,且其顶端设有开口,所述格栅板(4)的内部滑动安装有粗过滤板。
8.根据权利要求1所述的一种双重过滤的雨水泵站截油截污结构,其特征在于,所述截污毛刷(6)的材料具有吸附功能。
说明书
一种双重过滤的雨水泵站截油截污结构
技术领域
本发明涉及污水处理领域,尤其涉及一种双重过滤的雨水泵站截油截污结构。
背景技术
雨水泵站是指设置于雨水管道系统中或城市低洼地带,用以排除城区雨水的泵站。雨水泵站不仅可以防积水,还可供水,雨水泵站是对于城市雨水的预防以及城市非生活用水的提供具有重要的意义。雨水泵站已经在城市中得到广发的应用,雨水泵站在长时间的使用过后,由于雨水中杂物不断在泵站池中积累,造成泵站池内雨水出现恶臭、污染泵站内的雨水,甚至对下流的使用存在危险。
传统的雨水泵站在进行雨水截油截污处理时无法对其进行处理,从而导致杂质堆积,使得雨水泵站的污水处理效率降低,并且雨水泵站的传统的方式仅为一次截油截污处理,导致其截油截污效果不佳,因此,为了解决此类问题,我们提出了一种双重过滤的雨水泵站截油截污结构。
发明内容
本发明提出的一种双重过滤的雨水泵站截油截污结构,解决了现有的雨水泵站污水截油截污效率低,长期使用会导致排水效率降低的问题。
为了实现上述目的,本发明采用了如下技术方案:
一种双重过滤的雨水泵站截油截污结构,包括截污池和河道,所述截污池的内部依次设有格栅井、过滤井、泵站井以及出水井,所述格栅井、过滤井、泵站井、出水井以及河道相互连通,且所述格栅井的一侧设置有进水箱涵,所述格栅井与过滤井之间设置有格栅板,且所述泵站井的内部安装有水泵,所述过滤井与出水井内部均沿其宽度方向设置具有吸附功能的截污毛刷,且所述过滤井以及出水井均设有毛刷清理设备,所述毛刷清理设备包括卷扬机、钢丝绳、接料支槽、接料总槽以及截污篮,所述截污池位于过滤井以及出水井的顶端均固定安装有安装座,且所述安装座的顶端固定安装有卷扬机,卷扬机的输出轴安装有钢丝绳,所述截污毛刷上套设有截污篮,且所述截污篮的两侧设置有呈对称分布的轴承,其中一个所述轴承上安装有滚轮,且所述钢丝绳与滚轮的滚轮槽匹配。
优选的,所述进水箱涵位于格栅井的一端设置有闸门,且所述格栅井的上方设有与闸门匹配的调节装置。
优选的,所述水泵的出水端延伸至出水井的内部铰接有拍门。
优选的,所述过滤井与出水井的内部均设有导轨,所述轴承上设有导槽,且所述导槽与导轨匹配。
优选的,所述截污篮的底端铰接有卸料口,且所述截污篮的底端固定安装有配重钢板。
优选的,所述截污池位于过滤井以及出水井的上方均安装有伸缩气缸,且所述伸缩气缸的活塞杆端部安装有接料支槽,所述截污池位于过滤井以及出水井的上方均设有接料总槽,且接料总槽位于接料支槽的下方。
优选的,所述格栅板呈中空设置,且其顶端设有开口,所述格栅板的内部滑动安装有粗过滤板。
优选的,所述截污毛刷的材料具有吸附功能。
本发明的有益效果为:
1、该装置通过在格栅井内部设置格栅板能够对雨水泵站中收集的雨水进行初步过滤,对其内部大颗粒杂质进行剔除,并且通过在格栅井以及出水井均设置具有吸附功能的毛刷能够对其雨水内部的油污以及细小颗粒杂质进行剔除,相较于传统的雨水泵站截污装置,能够有效的提高其截油截污的效率。
2、通过在格栅井以及出水井内部毛刷的上方均设置卷扬机,并且通过卷扬机带动钢丝绳以及截污篮上升,能够有效的对毛刷上吸附的油污以及杂质进行清除,从而能够保证毛刷对雨水中油污以及杂质的吸附能力,提高该装置的截油截污效率。
3、通过设置伸缩气缸、接料支槽以及接料总槽,使得卷扬机将截污篮吊起至截污毛刷顶端后,能够通过伸缩气缸延伸将截污篮底端的卸料口打开,使得截污篮内部收集的油污以及垃圾能够自动的流动至接料支槽以及接料总槽内部,无需人工清理,实现了自动化操作,降低了工人劳动强度,同时能够对收集的垃圾进行统一回收处理。
综上所述,相较于传统的雨水泵站截油截污装置,该装置能够通过设置双重过滤的截油截污结构提高其使用效率,并且方便对截油截污毛刷进行清理,同样能够提高其截油截污效率。
- 2021-07-14久马高速生活污水设备操作培训
- 2021-07-14四川交建污水处理技术培训
- 2021-03-31污水药剂搅拌装置及其使用方法
- 2020-10-02集沉砂隔油压榨一体过滤设备
- 2020-09-29市政污水排污管铺设施工系统














电话:028-81291392
手机:18123218647
邮箱:349984202@qq.com