热点关注
密闭多重循环式污水处理工艺
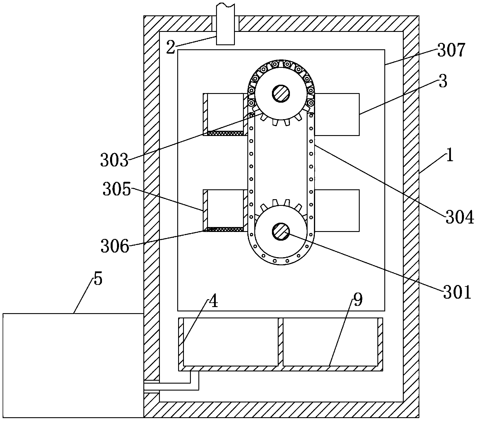
本实用新型实施例公开了一种密闭多重循环式污水处理装置,包括箱体和与箱体顶部连通的进水管道,所述箱体内顶部设置有初选装置,所述初选装置的下方设置有安装在箱体内壁上的储水箱和废料箱,所述储水箱通过管道连通有污水处理装置;所述初选装置包括通过轴承水平安装在箱体内壁上的两个安装轴,其中一个所述安装轴的一端连接有驱动电机,两个所述安装轴上均固定安装有传送齿轮,本实用新型利用多个过滤箱对污水进行过滤,过滤物留在过滤箱内,且过滤箱随着链条输送带的运动会变成倾倒状态将内部的过滤物全部倾倒出,且过滤物在清除时不会对过滤箱的使用造成影响,其次污水会经过多个过滤箱的过滤,内部污染物清除效果更好。
权利要求书
1.一种密闭多重循环式污水处理装置,其特征在于,包括箱体(1)和与箱体(1)顶部连通的进水管道(2),所述箱体(1)内顶部设置有初选装置(3),所述初选装置(3)的下方设置有安装在箱体(1)内壁上的储水箱(4)和废料箱(9),所述储水箱(4)通过管道连通有污水处理装置(5);
所述初选装置(3)包括通过轴承水平安装在箱体(1)内壁上的两个安装轴(301),且两个所述安装轴(301)的轴线位于同一个竖直平面上,其中一个所述安装轴(301)的一端连接有驱动电机(302),两个所述安装轴(301)上均固定安装有传送齿轮(303),两个所述传送齿轮(303)上共同啮合有链条输送带(304),所述链条输送带(304)上等间距固定安装有若干个过滤箱(305),且所述进水管道(2)的轴线与过滤箱(305)的中心线重合,若干个所述过滤箱(305)的底部均设置有滤网(306)。
2.根据权利要求1所述的一种密闭多重循环式污水处理装置,其特征在于,两个所述安装轴(301)上共同对称安装有两个挡板(307),且两个所述挡板(307)位于两个传送齿轮(303)的两侧。
3.根据权利要求2所述的一种密闭多重循环式污水处理装置,其特征在于,其中一个所述挡板(307)上通过轴承安装有转轴(6),且所述转轴(6)与链条输送带(304)的最短间距大于过滤箱(305)的最大尺寸,所述转轴(6)的一端连接有辅助电机(7),所述转轴(6)位于两个挡板(307)之间的另一端固定连接有弹性橡胶条(8)。
4.根据权利要求3所述的一种密闭多重循环式污水处理装置,其特征在于,所述链条输送带(304)一侧的过滤箱(305)的口部竖直向上,所述链条输送带(304)另一侧的过滤箱(305)的口部竖直向下,且所述进水管道(2)位于链条输送带(304)上过滤箱(305)口部竖直向上的一侧。
5.根据权利要求3所述的一种密闭多重循环式污水处理装置,其特征在于,所述弹性橡胶条(8)的长度大于转轴(6)与过滤箱(305)之间的最短间距。
6.根据权利要求5所述的一种密闭多重循环式污水处理装置,其特征在于,所述过滤箱(305)的数量为6个。
说明书
一种密闭多重循环式污水处理装置
技术领域
本实用新型实施例涉及污水处理技术领域,具体涉及一种密闭多重循环式污水处理装置。
背景技术
污水,是指受到一定污染的来自生活和生产的排出水,丧失了原来使用功能,包括工业废水、生活污水、商业污水和表面径流,其中工业引起的水体污染最为严重。
随着社会的发展和进步,对于污水处理越来越重视,污水处理时首先需要对其中的大颗粒物质进行过滤,避免其进入设备内部对设备造成损坏,现有申请号为CN201920148335.6、专利名称为一种市政污水处理过滤装置的实用新型专利,该实用新型专利利用倾斜设置的过滤板对污水进行初次过滤,并利用倾斜的过滤板表面以及凸轮击打使得过滤物从表面滑落,避免过滤物堵塞过滤网,降低了更换过滤网的频率,但该实用新型也有相应缺点:该实用新型在避免过滤物掉落至过滤板滑动的滑槽内时,设置有活动连接在过滤板表面下方位置的挡板进行遮挡,但挡板在随着过滤板的运动而转动时,过滤物会掉落至缝隙中,将挡板卡住,使得整个过滤板部分故障,无法通过凸轮的击打实现过滤物的清除,因此,需要设计一种密闭多重循环式污水处理装置。
实用新型内容
为此,本实用新型实施例提供一种密闭多重循环式污水处理装置,解决了现有的装置中的过滤物会导致过滤板无法自由滑动从而使得过滤板无法在凸轮的击打下产生抖动效果清除表面的过滤物,导致过滤板更换频率提升。
为了实现上述目的,本实用新型的实施方式提供如下技术方案:
一种密闭多重循环式污水处理装置,包括箱体和与箱体顶部连通的进水管道,所述箱体内顶部设置有初选装置,所述初选装置的下方设置有安装在箱体内壁上的储水箱和废料箱,所述储水箱通过管道连通有污水处理装置;
所述初选装置包括通过轴承水平安装在箱体内壁上的两个安装轴,且两个所述安装轴的轴线位于同一个竖直平面上,其中一个所述安装轴的一端连接有驱动电机,两个所述安装轴上均固定安装有传送齿轮,两个所述传送齿轮上共同啮合有链条输送带,所述链条输送带上等间距固定安装有若干个过滤箱,且所述进水管道的轴线与过滤箱的中心线重合,若干个所述过滤箱的底部均设置有滤网。
作为本实用新型的一种优选方案,两个所述安装轴上共同对称安装有两个挡板,且两个所述挡板位于两个传送齿轮的两侧。
作为本实用新型的一种优选方案,其中一个所述挡板上通过轴承安装有转轴,且所述转轴与链条输送带的最短间距大于过滤箱的最大尺寸,所述转轴的一端连接有辅助电机,所述转轴位于两个挡板之间的另一端固定连接有弹性橡胶条。
作为本实用新型的一种优选方案,所述链条输送带一侧的过滤箱的口部竖直向上,所述链条输送带另一侧的过滤箱的口部竖直向下,且所述进水管道位于链条输送带上过滤箱口部竖直向上的一侧。
作为本实用新型的一种优选方案,所述弹性橡胶条的长度大于转轴与过滤箱之间的最短间距。
作为本实用新型的一种优选方案,所述过滤箱的数量为6个。
本实用新型的实施方式具有如下优点:
本实用新型利用多个过滤箱对污水进行过滤,过滤物留在过滤箱内,且过滤箱随着链条输送带的运动会变成倾倒状态将内部的过滤物全部倾倒出,且过滤物在清除时不会对过滤箱的使用造成影响,其次污水会经过多个过滤箱的过滤,内部污染物清除效果更好。
- 2021-07-14久马高速生活污水设备操作培训
- 2021-07-14四川交建污水处理技术培训
- 2021-03-31污水药剂搅拌装置及其使用方法
- 2020-10-02集沉砂隔油压榨一体过滤设备
- 2020-09-29市政污水排污管铺设施工系统















电话:028-81291392
手机:18123218647
邮箱:349984202@qq.com