热点关注
水利工程用污水处理投料系统
本发明公开了一种水利工程用污水处理投料装置,包括污水管道,所述污水管道上固定连接有储料桶,所述污水管道的内侧壁上对称固定连接有两个固定杆,两个所述固定杆之间固定连接有轴承,所述轴承的内侧壁上固定连接有转轴。本发明在污水通过污水管道的过程中,以流动的污水对驱动扇叶的冲击作为驱动力,实现向污水水流自动投料,且投料均匀,能够使得化学试剂在污水中均匀分布,从而节省大量的三级污水处理过程所需时间,显著的提高了三级污水处理工作的工作效率,并减轻了工作人员的负担,而且依次倒入入料桶内的各化学试剂能够借助浮块的浮力作用实现在储料桶内的均匀预混合,然后配合搅拌扇叶进行进一步的充分混合。

权利要求书
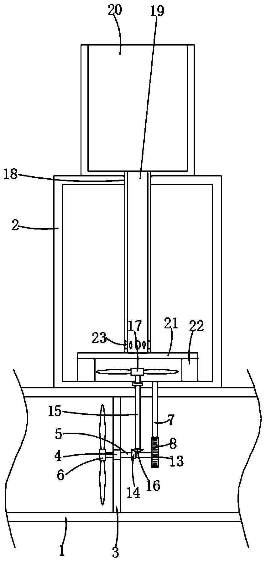
1.一种水利工程用污水处理投料装置,包括污水管道(1),其特征在于,所述污水管道(1)上固定连接有储料桶(2),所述污水管道(1)的内侧壁上对称固定连接有两个固定杆(3),两个所述固定杆(3)之间固定连接有轴承(4),所述轴承(4)的内侧壁上固定连接有转轴(5),所述转轴(5)的一端上固定连接有驱动扇叶(6),所述储料桶(2)的底端内固定连接有依次贯穿储料桶(2)和污水管道(1)的连接管(7),所述连接管(7)远离储料桶(2)的一端上固定连接有壳体(8),所述壳体(8)内设有空腔(9),所述转轴(5)远离驱动扇叶(6)的一端贯穿壳体(8),所述转轴(5)位于空腔(9)内的一端上固定连接有转盘(10),所述转盘(10)转动连接在空腔(9)内,所述转盘(10)上对称设有多个滑槽(11),多个所述滑槽(11)内均密封滑动连接有滑块(12),所述壳体(8)的一侧壁上等间距设有多个与空腔(9)连通的通孔(13),所述储料桶(2)内设有混匀装置,所述储料桶(2)远离污水管道(1)的一侧壁上设有限位孔(18),所述限位孔(18)内滑动连接有下料管(19),所述下料管(19)伸出储料桶(2)的一端上固定连接有入料桶(20),所述下料管(19)的底端固定连接有安装板(21),所述安装板(21)的底侧壁上固定连接有浮块(22),所述下料管(19)上对称设有多个出液孔(23)。
2.根据权利要求1所述的一种水利工程用污水处理投料装置,其特征在于,所述混匀装置包括主动斜齿轮(14),所述主动斜齿轮(14)固定连接在转轴(5)上,所述储料桶(2)的底端内转动连接有依次贯穿储料桶(2)和污水管道(1)的从动轴(15),所述从动轴(15)靠近主动斜齿轮(14)的一端上固定连接有与其啮合连接的从动斜齿轮(16),所述从动轴(15)远离从动斜齿轮(16)的一端上固定连接有搅拌扇叶(17)。
3.根据权利要求2所述的一种水利工程用污水处理投料装置,其特征在于,所述连接管(7)靠近储料桶(2)一端的管口正对搅拌扇叶(17)设置,所述浮块(22)的内径尺寸大小大于搅拌扇叶(17)。
4.根据权利要求1所述的一种水利工程用污水处理投料装置,其特征在于,所述转轴(5)和转盘(10)均呈偏心式设置,所述转盘(10)相对空腔(9)呈内切式设置。
5.根据权利要求1所述的一种水利工程用污水处理投料装置,其特征在于,所述固定杆(3)呈三棱柱形设置,所述固定杆(3)的横截面呈现为锐角等腰三角形。
说明书
一种水利工程用污水处理投料装置
技术领域
本发明涉及污水处理技术领域,尤其涉及一种水利工程用污水处理投料装置。
背景技术
现代污水处理技术,按处理程度划分,可分为一级、二级和三级处理,一般根据水质状况和处理后的水的去向来确定污水处理程度。一级处理主要去除污水中呈悬浮状态的固体污染物质,经过一级处理的污水,达不到排放标准;二级污水处理主要去除污水中呈胶体和溶解状态的有机污染物质,使有机污染物达到排放标准;三级污水处理能够进一步处理难降解的有机物、氮和磷等能够导致水体富营养化的可溶性无机物等。一级处理、二级处理和三级处理分别是在一级污水处理沉降池、二级污水处理沉降池和三级污水处理沉降池内进行的。
对污水的三级处理一般是借助抽吸泵和污水管道,将二级污水处理沉降池内经过二级污水处理的污水抽吸到三级污水处理沉降池内,接着向三级污水处理沉降池内投放多种用于污水处理的化学试剂,投料完成之后,一般需要通过搅拌等方式使得化学试剂均匀的混入污水中,从而确保污水处理的效率和质量,由于投料和搅拌混合的过程需要花费大量的时间,因此降低了三级污水处理的工作效率,且增加了工作人员的工作负担。
发明内容
本发明的目的是为了解决现有技术中存在的缺点,如:对污水的三级处理一般是借助抽吸泵和污水管道,将二级污水处理沉降池内经过二级污水处理的污水抽吸到三级污水处理沉降池内,接着向三级污水处理沉降池内投放多种用于污水处理的化学试剂,投料完成之后,一般需要通过搅拌等方式使得化学试剂均匀的混入污水中,从而确保污水处理的效率和质量,由于投料和搅拌混合的过程需要花费大量的时间,因此降低了三级污水处理的工作效率,且增加了工作人员的工作负担。
为了实现上述目的,本发明采用了如下技术方案:
一种水利工程用污水处理投料装置,包括污水管道,所述污水管道上固定连接有储料桶,所述污水管道的内侧壁上对称固定连接有两个固定杆,两个所述固定杆之间固定连接有轴承,所述轴承的内侧壁上固定连接有转轴,所述转轴的一端上固定连接有驱动扇叶,所述储料桶的底端内固定连接有依次贯穿储料桶和污水管道的连接管,所述连接管远离储料桶的一端上固定连接有壳体,所述壳体内设有空腔,所述转轴远离驱动扇叶的一端贯穿壳体,所述转轴位于空腔内的一端上固定连接有转盘,所述转盘转动连接在空腔内,所述转盘上对称设有多个滑槽,多个所述滑槽内均密封滑动连接有滑块,所述壳体的一侧壁上等间距设有多个与空腔连通的通孔,所述储料桶内设有混匀装置,所述储料桶远离污水管道的一侧壁上设有限位孔,所述限位孔内滑动连接有下料管,所述下料管伸出储料桶的一端上固定连接有入料桶,所述下料管的底端固定连接有安装板,所述安装板的底侧壁上固定连接有浮块,所述下料管上对称设有多个出液孔。
优选的,所述混匀装置包括主动斜齿轮,所述主动斜齿轮固定连接在转轴上,所述储料桶的底端内转动连接有依次贯穿储料桶和污水管道的从动轴,所述从动轴靠近主动斜齿轮的一端上固定连接有与其啮合连接的从动斜齿轮,所述从动轴远离从动斜齿轮的一端上固定连接有搅拌扇叶。
优选的,所述连接管靠近储料桶一端的管口正对搅拌扇叶设置,所述浮块的内径尺寸大小大于搅拌扇叶。
优选的,所述转轴和转盘均呈偏心式设置,所述转盘相对空腔呈内切式设置。
优选的,所述固定杆呈三棱柱形设置,所述固定杆的横截面呈现为锐角等腰三角形。
本发明的有益效果是:
1、从第二种化学试剂的倒入开始,随着入料桶的重量增加,在逐渐增加的重力作用下,入料桶、下料管和安装板会克服浮块的浮力作用逐渐下移到储料桶的底部,在这个过程中,入料桶内化学试剂不断的通过下料管和出液孔流入储料桶内,因此当入料桶的重量减小到重力小于浮块受到的浮力时,入料桶、下料管和安装板会在浮块的浮力作用下再次上浮,这样一升一降,在升降过程中第二种化学试剂不断的混入第一种化学试剂中,且安装板能够带动化学试剂间加速对流混合,随后加入的其他试剂同理,从而能够对倒入储料桶内的多种化学试剂进行良好的均匀预混合。
2、在污水通过污水管道的过程中,借助流动的污水对驱动扇叶的冲击带动转轴旋转,转轴又带动转盘旋转,随着转盘的转动,通过连接管,不断的将储料桶内的化学试剂抽吸到空腔内并经通孔均匀的排放到流动的污水中,实现向污水水流自动投料,且投料均匀,能够使得化学试剂在污水中均匀分布,因此无需在将污水全部抽吸进三级污水处理沉降池内后再对污水进行搅拌,而且由于自动投料是在将污水由二级污水处理池抽吸进三级污水处理沉降池的过程中实现的,因此能够在抽吸结束后就立刻开始三级污水处理,从而能够节省大量的时间,显著的提高了三级污水处理工作的工作效率。
3、转轴在转动时还会通过主动斜齿轮带动从动斜齿轮和从动轴旋转,进而带动搅拌扇叶旋转,对连接管管口附近的化学试剂进行搅拌,使其在预混之后能够进一步混合,从而确保各化学试剂混合足够均匀。
- 2021-07-14久马高速生活污水设备操作培训
- 2021-07-14四川交建污水处理技术培训
- 2021-03-31污水药剂搅拌装置及其使用方法
- 2020-10-02集沉砂隔油压榨一体过滤设备
- 2020-09-29市政污水排污管铺设施工系统














电话:028-81291392
手机:18123218647
邮箱:349984202@qq.com