
-
利用嗜热菌处理石油污水方法
本发明涉及生物法处理石油污水技术领域,具体公开了一种利用嗜热菌处理石油污水的方法,采用噬热栖热菌对所述石油污水进行处理,将噬热栖热菌进行活化、活化后的菌株进行训化...
2020-08-20

-
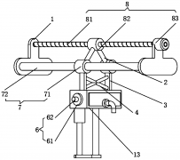
远程污水处理在线诊断控制系统
本发明公开了一种远程污水处理在线诊断控制系统,包括安装架、驱动机构、导向机构、检测箱和水泵;驱动机构:包括丝杆、传动螺母和步进电机,步进电机安装在安装架的侧面,所述...
2020-08-20

-
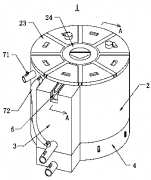
污水蒸发汽处理系统
本发明涉及污水处理技术领域,公开了一种污水蒸发汽处理系统,包括蒸汽冷凝回路、冷却循环回路以及换热器,蒸汽冷凝回路的一端与污水蒸发装置相通,蒸汽冷凝回路的另一端设有...
2020-08-20

-
固液分离式污水处理厂含水废弃物处理方法
本发明涉及污水处理技术领域,具体是一种固液分离式污水处理厂含水废弃物处理装置,包括处理机架,处理机架上分别设置有过滤厢、一级分离厢和二级分离厢,过滤厢内分为进水腔...
2020-08-20

-
景观鱼池新型家用污水处理技术
本发明提供一种景观鱼池新型家用污水处理设备。所述景观鱼池新型家用污水处理设备包括圆柱形的主处理腔,和设于所述主处理腔的侧面的粗处理腔;所述粗处理腔大体为方形,其贴近...
2020-08-20

-
磨料磨具生产中酚醛树脂生产废水深度处理工艺
本发明公开了一种磨料磨具生产中酚醛树脂废水的深度处理工艺,包括沉降、破乳、絮凝、水解酸化、好氧处理、二次絮凝、芬顿氧化、超滤和超高压反渗透,本发明解决现有工艺处理...
2020-08-20





电话:028-81291392
手机:18123218647
邮箱:349984202@qq.com