
-
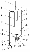
水利工程用污水处理投料系统
本发明公开了一种水利工程用污水处理投料装置,包括污水管道,所述污水管道上固定连接有储料桶,所述污水管道的内侧壁上对称固定连接有两个固定杆,两个所述固定杆之间固定连...
2020-09-29

-
环保型工业污水循环再利用方法
本发明涉及一种环保型工业污水循环再利用装置,包括过滤箱、安装板和支撑块,所述过滤箱的后方固定有水位监测管,所述固定箱的上方连接有连接管,所述垃圾箱的下方固定有导轨...
2020-09-29

-
物联型雨水泵站初期雨水快速过滤方法
本发明公开了一种物联型雨水泵站的初期雨水快速过滤系统及其过滤方法,包括配合雨水泵站的雨水泵站前池和安装在雨水泵站内部的雨水快速过滤装置,雨水泵站前池的进水口连接雨...
2020-09-29

-
市政雨水排放截污系统
本发明涉及雨水排放技术领域,且公开了一种市政雨水排放截污装置,包括截污桶、收集罐、排污组件、抽水机和控制器;所述截污桶的侧面安装有进水管和出水管,所述截污桶的顶部安...
2020-09-29

-
污水臭气检测方法
本实用新型公开了一种污水臭气检测装置,涉及气体检测领域,包括臭气储存箱,所述臭气储存箱顶部设置有安装板,所述安装板顶部设置有把手,所述安装板底部中间且在臭气储存箱...
2020-08-20

-
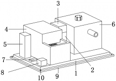
智能节能工业污水处理工艺
本发明公开了一种智能节能工业污水处理装置,包括底板、过滤单元、水力发电单元和污水净化单元,底板上表面的中部对称设置有水泵支撑架,水泵支撑架的上端设置有水泵,底板的...
2020-08-20





电话:028-81291392
手机:18123218647
邮箱:349984202@qq.com